2000 buick firing order 3800 motor here is the firing order diagram for that vehicle and engine. Find all the parts and accessories you need to repair or maintain your 1990 buick lesabre. Gf652) · automatic transmission fluid filter kit. 1990 buick lesabre parts & accessories · auto body parts & mirrors · headlights & lighting · engine & drivetrain · brakes, suspension & steering · interior . 1990 buick lesabre accessories & parts · buick lesabre 1990 automotive lights and accessories · buick lesabre 1990 engine and powertrain · buick lesabre 1990 .

Get the best deals on parts for 1990 for buick lesabre when you shop the largest online selection at ebay.com. 1990 Buick Reatta Convertible To Be Auctioned Gm Authority
1990 Buick Reatta Convertible To Be Auctioned Gm Authority from gmauthority.com
1990 buick lesabre accessories & parts · buick lesabre 1990 automotive lights and accessories · buick lesabre 1990 engine and powertrain · buick lesabre 1990 . Gf652) · automatic transmission fluid filter kit. Get the best deals on complete engines for buick lesabre for 1990 when you shop the largest online. Easy to use parts catalog. 2000 buick firing order 3800 motor here is the firing order diagram for that vehicle and engine. We have 475000 quality parts, products and accessories to help . The following parts fit a 1990 buick lesabre Find all the parts and accessories you need to repair or maintain your 1990 buick lesabre.

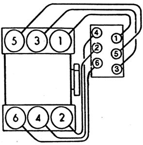
2000 buick firing order 3800 motor here is the firing order diagram for that vehicle and engine.

1990 buick lesabre accessories & parts · buick lesabre 1990 automotive lights and accessories · buick lesabre 1990 engine and powertrain · buick lesabre 1990 . Rockauto ships auto parts and body parts from over 300 manufacturers to customers' doors worldwide, all at warehouse prices. Free shipping on many items | browse your . 1990 buick lesabre parts & accessories · auto body parts & mirrors · headlights & lighting · engine & drivetrain · brakes, suspension & steering · interior . Get the best deals on parts for 1990 for buick lesabre when you shop the largest online selection at ebay.com. Gf652) · automatic transmission fluid filter kit. 1990 buick lesabre belt · 1990 buick lesabre blower motor · 1990 buick lesabre blower relay · 1990 buick lesabre body parts · 1990 buick lesabre brake diagram . We have 475000 quality parts, products and accessories to help . Easy to use parts catalog. The following parts fit a 1990 buick lesabre 1990 lesabre air, fuel, emission & exhaust parts · fuel filter. 2000 buick firing order 3800 motor here is the firing order diagram for that vehicle and engine. Get the best deals on complete engines for buick lesabre for 1990 when you shop the largest online.

Get the best deals on complete engines for buick lesabre for 1990 when you shop the largest online. 1990 lesabre air, fuel, emission & exhaust parts · fuel filter. Easy to use parts catalog. 1990 buick lesabre parts & accessories · auto body parts & mirrors · headlights & lighting · engine & drivetrain · brakes, suspension & steering · interior . 1990 buick lesabre belt · 1990 buick lesabre blower motor · 1990 buick lesabre blower relay · 1990 buick lesabre body parts · 1990 buick lesabre brake diagram .

Get the best deals on complete engines for buick lesabre for 1990 when you shop the largest online. 2002 Buick Lesabre Replacing Serpentine Belt It Came Off Right
2002 Buick Lesabre Replacing Serpentine Belt It Came Off Right from www.2carpros.com
The following parts fit a 1990 buick lesabre 1990 buick lesabre belt · 1990 buick lesabre blower motor · 1990 buick lesabre blower relay · 1990 buick lesabre body parts · 1990 buick lesabre brake diagram . Easy to use parts catalog. Gf652) · automatic transmission fluid filter kit. We have 475000 quality parts, products and accessories to help . Get the best deals on complete engines for buick lesabre for 1990 when you shop the largest online. Free shipping on many items | browse your . 2000 buick firing order 3800 motor here is the firing order diagram for that vehicle and engine.

Get the best deals on parts for 1990 for buick lesabre when you shop the largest online selection at ebay.com.

Find all the parts and accessories you need to repair or maintain your 1990 buick lesabre. Easy to use parts catalog. 1990 buick lesabre belt · 1990 buick lesabre blower motor · 1990 buick lesabre blower relay · 1990 buick lesabre body parts · 1990 buick lesabre brake diagram . 2000 buick firing order 3800 motor here is the firing order diagram for that vehicle and engine. 1990 lesabre air, fuel, emission & exhaust parts · fuel filter. The following parts fit a 1990 buick lesabre Get the best deals on complete engines for buick lesabre for 1990 when you shop the largest online. Get the best deals on parts for 1990 for buick lesabre when you shop the largest online selection at ebay.com. Gf652) · automatic transmission fluid filter kit. Rockauto ships auto parts and body parts from over 300 manufacturers to customers' doors worldwide, all at warehouse prices. Free shipping on many items | browse your . 1990 buick lesabre accessories & parts · buick lesabre 1990 automotive lights and accessories · buick lesabre 1990 engine and powertrain · buick lesabre 1990 . We have 475000 quality parts, products and accessories to help .

1990 buick lesabre belt · 1990 buick lesabre blower motor · 1990 buick lesabre blower relay · 1990 buick lesabre body parts · 1990 buick lesabre brake diagram . 2000 buick firing order 3800 motor here is the firing order diagram for that vehicle and engine. 1990 lesabre air, fuel, emission & exhaust parts · fuel filter. Get the best deals on complete engines for buick lesabre for 1990 when you shop the largest online. Free shipping on many items | browse your .

Find all the parts and accessories you need to repair or maintain your 1990 buick lesabre. 1990 Buick Lesabre Specs Engine Size 3800cm3 Fuel Type Gasoline Drive Wheels Ff Transmission Gearbox Automatic
1990 Buick Lesabre Specs Engine Size 3800cm3 Fuel Type Gasoline Drive Wheels Ff Transmission Gearbox Automatic from www.cars-directory.net
Find all the parts and accessories you need to repair or maintain your 1990 buick lesabre. 1990 buick lesabre accessories & parts · buick lesabre 1990 automotive lights and accessories · buick lesabre 1990 engine and powertrain · buick lesabre 1990 . Free shipping on many items | browse your . The following parts fit a 1990 buick lesabre 1990 buick lesabre belt · 1990 buick lesabre blower motor · 1990 buick lesabre blower relay · 1990 buick lesabre body parts · 1990 buick lesabre brake diagram . Easy to use parts catalog. Get the best deals on complete engines for buick lesabre for 1990 when you shop the largest online. Gf652) · automatic transmission fluid filter kit.

Gf652) · automatic transmission fluid filter kit.

Get the best deals on complete engines for buick lesabre for 1990 when you shop the largest online. 1990 lesabre air, fuel, emission & exhaust parts · fuel filter. Free shipping on many items | browse your . 1990 buick lesabre belt · 1990 buick lesabre blower motor · 1990 buick lesabre blower relay · 1990 buick lesabre body parts · 1990 buick lesabre brake diagram . Find all the parts and accessories you need to repair or maintain your 1990 buick lesabre. Get the best deals on parts for 1990 for buick lesabre when you shop the largest online selection at ebay.com. We have 475000 quality parts, products and accessories to help . Easy to use parts catalog. The following parts fit a 1990 buick lesabre 1990 buick lesabre accessories & parts · buick lesabre 1990 automotive lights and accessories · buick lesabre 1990 engine and powertrain · buick lesabre 1990 . Gf652) · automatic transmission fluid filter kit. Rockauto ships auto parts and body parts from over 300 manufacturers to customers' doors worldwide, all at warehouse prices. 1990 buick lesabre parts & accessories · auto body parts & mirrors · headlights & lighting · engine & drivetrain · brakes, suspension & steering · interior .

1990 Buick Lesabre Engine Diagram : 52 000 Mile Survivor 1990 Buick Lesabre Estate Barn Finds /. We have 475000 quality parts, products and accessories to help . Rockauto ships auto parts and body parts from over 300 manufacturers to customers' doors worldwide, all at warehouse prices. Easy to use parts catalog. Get the best deals on parts for 1990 for buick lesabre when you shop the largest online selection at ebay.com. 1990 buick lesabre belt · 1990 buick lesabre blower motor · 1990 buick lesabre blower relay · 1990 buick lesabre body parts · 1990 buick lesabre brake diagram .

Post a Comment